仓库管理产品用户手册
1. 引言
1.1产品背景
对于原在库存管理的基础上,因为仓库管理员,需要先进行货物的出入库,然后进行库存出入库结果的录入。而仓库作业是基于实际的操作步骤进行出入库的操作。
对于货物通过标签或者二维码进行张贴和标识。对于标签上可以体现物料,项目信息,二维码以及入库时间信息。
对于库存可视化的管理,便于在入库的时候动态化显示库位的存储情况。
对于托盘的上下架管理,便于信息的传递。
1.2产品价值
| 中文 | 英文 | 名词解释 |
|---|---|---|
| 仓库需求 | 仓库需求是仓库作业的需求来源,譬如到货单、领料单均为仓库需求。 | |
| 作业 | 作业指仓库最基本的任务分解单元,通常应由单一人员/设备来执行。 | |
| 作业路线 | 常见的作业有:收货、上架、捡货、出库、移库、贴牌库区检索顺序在生产过程中,不存在该实体,也不存在该物料的库存。为了搭建BOM过程中而被使用 | |
| 库区检索顺序 | 检索顺序是库区的优先级队列,在作业时按队列的顺序来搜索各个库区中的库存。 | |
| 收货 = 入库 | 指对于仓库而言,库存的收入(增加) | |
| 出库 = 发货 | 指对于仓库而言,库存的发出(减少) | |
| 上架、下架 | 指对于库位来说,库位中增加库存为上架,反之为下架 | |
| 策略 | 指上架和下架的策略,如上架到空库位、先进先出下架、全局先进先出下架等。 | |
| 策略组 | 策略组是一个队列,包含多个策略+库区检索顺序的租户,在作业时按策略组中优先级从高到低来选择。 | |
| 需求配置路线 | 配置移动类型与物料组、来源仓库、目标仓库、作业路线的关系,该关系决定了特定物料的特定移动类型的仓库需求,系统应采用什么作业路线来处理。 |
1.4 软硬件环境
1.4.1 软件环境
推荐使用QQ浏览器、Chrome浏览器
1.4.2 硬件环境
| 序号 | 事项 | 需求等级 |
| 1 | 电脑,能够登陆QQ浏览器或Chrome浏览器,且配鼠标,键盘操作 | 必须 |
1.5用户群体与事务
| 用户角色 | 涉及事务 | 参考章节 |
|---|---|---|
| 系统管理员 | 作业配置 | 3.2 |
| 仓库管理员 | PDA执行 | 3.3/3.4/3.5/3/6 |
1.6 登录系统
1、 登录网址:https://sso.industics.com/
2、 操作步骤:
Step1:在”切换企业”中输入企业ID
Step2:(方式一)在”账号登录“中输入账号和密码;(方式二)在“扫码登录”中使用“企业微信”或“钉钉” 扫码登录,此登录的前提是,用户先使用账号登录并绑定“企业微信”或“钉钉”。
具体登录步骤截图如下:
PDA通过用户名输入或者扫码输入,在PDA上进行业务的扫码操作。
登录后可以在右上角切换登录。
3、 常见问题:
(1) 登录PC端或者移动端发现没有相应的模块,可能是由于未开通该模块的权限,您可联系企业的系统管理员开通权限。
(2) 忘记密码,可联系管理员重置密码,登录后可在右上角人员信息点击下拉修改密码。
2. 功能清单大纲
3. 功能详细说明
3.1 仓库需求
仓库需求是WM扫码出入库的依据,对于仓库而言,需要经过仓库需求流转到仓库。可以从PC端的仓库管理模块中同步到货单、领退料单、发退运单。
也可以手工增加仓库需求,如库内从高位货架到低位货架的补货需求。从仓库内部发现捡到一批货,需要入库等可以通过手工创建需求从而流转到PDA执行。
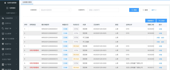
进入仓库作业,点击仓库需求。进入如下界面。
单据的状态为单据本身的业务状态,分为如下:
- 已创建:刚创建的单据,为已创建状态
- 已废弃:手工需求手工废弃后,或者从仓库管理PC端同步的到货单、领退料单、发退运单的在仓库管理PC端废弃后,仓库需求将变成已废弃的状态
- 已关闭:手工需求手工关闭后,或者从仓库管理PC端同步的到货单、领退料单、发退运单的在仓库管理PC端关闭后,仓库需求将变成已关闭的状态
完成状态是指单据的数量完成的状态:
- 未开始:单据没有完成的数量
- 部分完成:单据部分行完成或者部分完成
- 全部完成:单据全部行都全部完成
3.1.1手工创建
点击手工创建,弹框显示如下页面。需要选择需求类型,和仓库管理中的移动类型一样。同时如果涉及到内部外的交接伙伴:
- 对客户:如销售的出库或退回等相关,选择业务伙伴类型为客户后,选择相应的细化业务伙伴名称。支持名称和编号搜索
- 对供应商:如采购订单的出库或退回等相关,选择业务伙伴类型为供应商后,选择相应的细化业务伙伴名称。支持名称和编号搜索
- 对内部:如领料或者看板发料等,和生产间的物料交接。可以选择车间-产线
点击添加物料,可以添加行的优先级,物料编号,需要转移的数量。计划开始和完成的时间和仓库。根据出入库显示仓库:
- 入库作业(根据需求类型判定):显示目标仓库
- 出库作业(根据需求类型判定):显示来源仓库
- 移库作业(根据需求类型判定):显示目标仓库和来源仓库。注意:313生产领料,262-生产退料 属于移库操作。
3.1.2手工同步
列表显示的为仓库需求,异常类型为传递过来的仓库需求中有部分或者全部行没有在配置表中找到作业路线,需要点击详情查看对应的需求行,从而到作业配置中重新配置。配置好后,需要点击右上角的手工同步重新同步下,会根据配置情况,重新刷新手工需求。
需要注意的是:如果已经匹配了作业路线配置的仓库需求,后续更改了所配置的作业路线,将不会影响原已经配置的仓库需求。
3.1.3仓库需求详情
点击仓库需求详情,对于行可以再继续进入详情操作。
点击右边操作的详情,可以进入仓库作业,表头显示的仓库作业的相关字段。根据作业的步骤,显示在中间的作业步骤,进行中的作业步骤显示为蓝色,未开始的作业步骤显示为灰色,已完成的作业步骤显示为绿色。
默认显示的是待处理的作业, 状态为待处理。点击编辑可以对待处理的作业进行填写。包括库存类型,包括非限制库存,限制库存,冻结库存。根据作业的出入库类型显示目标仓和来源仓。
- 入库作业(包括收货,上架):显示目标仓库
- 出库作业(包括拣货,出库):显示来源仓库
- 移库作业(包括移库):显示目标仓库和来源仓库
点击作业记录,可以看到作业记录中的作业和操作,因为仓库需求的关闭和废弃(仓库需求会因为交货单的关闭和废弃联动)会触发待处理作业的废弃。对于下一步作业中有足够的可执行数量,且以下参数相同时,可以将已处理的作业全部撤回(暂不支持部分撤回)
参数为:同一个仓库需求下的批次号相同(对于启用批次管理的),且来源库位为这条待处理作业目标库位的待处理状态的作业。
3.1.4废弃需求
对于手工的仓库需求,可以在仓库需求查询列表中,进行废弃操作。
对于从仓库管理中同步过来的仓库需求,默认从源头废弃,系统也不允许从仓库需求进行直接废弃。
3.2 作业配置
作业配置是对于仓库的执行的步骤的配置。包括作业的执行路线配置,每个步骤产生移动类型的配置。
包括上下架策略配置。配置的顺序如下图所示:
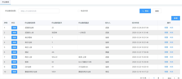
3.2.1作业路线
作业路线是对于作业的步骤的配置,因为出入库作业会根据场景不同配置不同的路线。点击仓库作业配置,作业路线。可以对于作业路线进行查询和显示。可以对作业路线进行配置和失效处理。失效后的作业路线将不再能被其他的需求配置所引用。进行中的和已经传递到仓库待执行的仓库需求也不能再被更改(除非废弃后重新创建到货单,领退料单,发退运单)。
点击新增作业路线,可以维护作业路线的名称,版本和描述。
点击配置,可以对作业路线进行编辑,需要配置开始节点和结束节点。中间用作业步骤串联。点击保存后。系统将会校验作业路线版本与系统已经存在的不同,包括已失效的作业路线。
3.2.2库区检索顺序
点击作业配置,库区检索顺序。可以建立库区的检索顺序组,从而方便被策略组引用。
点击新增,可以添加顺序组名称。点击编辑,可以修改名称。点击详情,可以对库区检索顺序进行添加和排序。选择已有的库存进行添加。
3.2.3策略组
对策略组进行配置,包括上下架类型,填写策略组编号,名称和版本。
上架类型:可以维护上架类型的策略和顺序。上架策略待开发。
下架类型:可以维护下架类型的策略和顺序。下册策略包括全仓先进先出,指定固定库位,顺序先进先出。
入库时间为依据进行先进先出指定固定库位:对于绑定了固定库位的进行关联库位的出库
- 全仓先进先出:忽略检索顺序,在出库时对于选定仓库的入库时间为依据进行先进先出
- 指定固定库位:对于绑定了固定库位的进行关联库位的出库
- 顺序先进先出:按照库区检索顺序进行先进先出的管理,如库区顺序是库区1,库区2,库区3。则检索到库区1时,如发现有库存,找到入库时间最早的库存进行出库,数量不足继续往下找。如果库区1没有库存,则继续到库区2进行检索。
3.2.4需求配置路线
点击仓库作业,作业配置,需求配置路线,对需求进行路线的配置。
列表中可以查看的信息包括:
需求移动类型:需求的类型,对于手工创建的需求类型和自动从库存管理同步的仓库需求。
| 单据类型 | 条件 | 需求类型 |
|---|---|---|
| 到货单 | 101 | |
| 领料单 | 倒冲料 | 313 |
| 领料单 | 正冲料 | 261 |
| 退料单 | 倒冲料 | 262 |
| 退料单 | 正冲料 | 264 |
| 其他领料单 | 倒冲料 | 313 |
| 其他领料单 | 正冲料 | 261 |
| 其他退料单 | 倒冲料 | 262 |
| 其他退料单 | 正冲料 | 264 |
| 发运单 | 231 | |
| 退运单 | 232 |
来源仓库/目标仓库:对于不同的移动类型需要维护不同的来源仓库和目标仓库。同仓库需求新增,即入库移动类型需要维护目标仓库,出库移动类型需要维护来源仓库。移库移动类型需要维护来源仓库和目标仓库。此时对于313和262生产领退料,因为固定的来源或者目标仓库为系统生产仓,那么不需要同时维护来源仓库和目标仓库。
适用类型:对于需要额外区分物料组的,可以利用物料组-仓库作业的标识对物料进行标签维护。从而在需求配置路线时,可以对于特定物料组的路线进行区分配置。
新增需求配置路线,对于以移动类型+来源仓库+目标仓库+适用类型+物料组-仓库作业为唯一校验规则,即以上条件才能决定仓库需求匹配的作业路线。
在需求配置路线中,根据选定的作业路线,配置上下架策略组合每步产生的移动类型。
需求配置路线的失效,对于配置行,可以进行失效,失效后,在需求匹配作业路线时,将不能再被后续的仓库需求匹配。注意:此时并不影响已经配置好的仓库需求,还将按照已经匹配的作业路线进行。
3.3 入库管理
在仓库实操中,仓库人员在PC端创建到货单、进行工单退料生成退料单后,可以手持PDA,凭单据进入仓库处理作业。以下针对PDA端操作进行详细说明。
3.3.1单据查询
在PC端创建到货单、退料单并指定对应的仓库的库存地点,在PDA【首页】切换到对应仓库后,点击进入【入库管理】>【单据查询】中,即可以查询到对应的单据。若到货单、退料单中的多个物料指定了多个仓库,则在【首页】上不管切换到哪个仓库,都可以查询到该单据。
3.3.1.1 列表
1、所有跟此仓库相关的到货单、退料单均在此列表中。 2、展示单据创建时间及创建人。
3、 针对到货单,若关联了采购订单,则还可以展开查看相关的采购订单、相关销售订单及合同。
4、 单据类型后展示的是单据号,上方的搜索框支持搜索此单据号,包括到货单号、退料单号。
5、 待处理数:指的是这个单据还有多少种物料还没完全处理完。
总数:指的是这个单据一共有多少种物料;
例如:单据中仅有一种物料,需要入库10个,当入库了9个,由于还有1个未入库,因此此物料仍处于待处理状态,因此待处理数仍为1,而总数也为1。
6、 单据展示状态,有未开始、部分完成、全部完成三种状态。
未开始:当待处理数=总数时
部分完成:当0<待处理数<总数时全部完成:当待处理数=0时
7、 当单据在PC端废弃或关闭后,列表中具有标识。
3.3.1.2 单据详情
1、 点击进入单据详情页。
2、 除了列表中的展示的信息外,还展示该单据中的所有物料,以及物料的入库情况,物料可通过输入或扫描物料码或项目码快速搜索
3、 若同一单据中的物料来自于不同的采购订单,点击物料的展开可查看相关订单号。
4、 每个物料具有每步作业的进度展示,展示物料每一步上待处理数量/需处理的数量。若0<物料待处理数量<物料总数,则展示蓝色圈圈;若待处理数量=0,则展示绿色圈圈。
5、 物料的状态有待处理、部分完成、全部完成。
待处理:最后步步骤,物料的待处理数=总数
部分完成:最后步步骤,0<物料的待处理数<总数
全部完成:最后步步骤,物料的待处理数=0
注:每种物料可能有不同的作业路线步骤,用户可通过配置实现,详见3.2.1
6、 点击圈圈,可快速跳转到仓库作业界面,如:进行入库
3.3.2收货
用户拿到对应的到货单或退料单,开始PDA操作。
1、 点击首页中的【收货】,进入收货作业界面。
2、 指定要处理的单据:输入或扫描到货单或退料单上的二维码,系统将自动为您呈现该单据中所有未完成收货的物料。
3、 填写各物料的收货数据,有如下多种方式:
(1) 扫描物料码或项目码:扫码后,系统将自动填写数量,且该数量为待处理数量;
(2) 快捷按钮【全量填数】:在确认收货前,不管用户是否填写了数量,点击【全量填数】,将一键填写所有物料的待处理数量;
(3) 快捷按钮【择空填数】:在确认收货前,若用户已经针对某些物料填写了数量,点击【择空填数】,系统将为没有填写数量的物料一键填数,填写数量为待处理数量;
(4) 点击数量字段框后方的蓝色字体,可以快速将
(5) 手动填写:找到对应的物料,手动在数量字段中填写。
若需一键清除所有物料的数量,则点击【清空数量】。
4、点击【确认收货】,指定所要收货的仓库及对应库位。指定库位的多种方式如下:
(1) 扫描库位码;
(2) 通过“小眼睛”进入可视化库位界面,直接在可视化库位上选择库位。其中,可视化库位展示的是所选仓库的库位,通过切换仓库可选到其他仓库的库位。
注:仓库默认为【首页】上选择的库位。
5、 【确认】后,待处理中数量减少,已处理中数量增加,同时展示对应的库位。
6、 在已处理界面中可勾选物料进行库位的打印,点击右上角图标可进入打印队列,可修改需有打印库位码的个数
3.3.3 上架
与【收货】步骤类似,参见3.3.2。
3.4 出库管理
在仓库实操中,仓库人员在PC端创建到货单、进行工单退料生成退料单后,可以手持PDA,凭单据进入仓库处理作业。以下针对PDA端操作进行详细说明。
3.4.1单据查询
在PC端创建发运单、领料单并指定对应的仓库的库存地点,在PDA【首页】切换到对应仓库后,点击进入【出库管理】>【单据查询】中,即可以查询到对应的单据。若发运单、领料单中的多个物料指定了多个仓库,则在【首页】上不管切换到哪个仓库,都可以查询到该单据。
3.4.1.1 列表
1、 所有跟此仓库相关的到货单、退料单均在此列表中。
2、 展示单据创建时间及创建人。
3、 针对到货单,若关联了采购订单,则还可以展开查看相关的采购订单、相关销售订单及合同。
4、 单据类型后展示的是单据号,上方的搜索框支持搜索此单据号,包括到货单号、退料单号。
5、 待处理数:指的是这个单据还有多少种物料还没完全处理完。
总数:指的是这个单据一共有多少种物料;
例如:单据中仅有一种物料,需要入库10个,当入库了9个,由于还有1个未入库,因此此物料仍处于待处理状态,因此待处理数仍为1,而总数也为1。
6、 单据展示状态,有未开始、部分完成、全部完成三种状态。
未开始:当待处理数=总数时
部分完成:当0<待处理数<总数时
全部完成:当待处理数=0时
7、 当单据在PC端废弃或关闭后,列表中具有标识。
3.4.1.2单据详情
3.5 库内管理
3.5.1库位转移
在仓库中,通常需要进行库内管理,比如在物料数量减少时,将物料合并到一个库位上,此时就会需要
【库位转移】功能。
1、 在【首页】中打开【库位转移】。
2、 输入或扫码【首页】指定仓库中的库位码,系统自动将该库位上的所有物料自动带出。
3、 为需要转移的物料指定转移数量,可通过搜索物料或通过扫描物料码、项目料码快速定位。
4、 若扫码,则系统将自动填写这个库位上所有的库存数量,还可以使用其他方式进行物料转移数量的填写,具体如下:(1)扫描物料码或项目码:扫码后,系统将自动填写数量,且该数量为该物料在此库位的数量;
(2) 快捷按钮【全量填数】:不管用户是否填写了数量,点击【全量填数】,将一键填写所有物料的待处理数量;
(3) 快捷按钮【择空填数】:若用户已经针对某些物料填写了数量,点击【择空填数】,系统将为没有填写数量的物料一键填数,填写数量为待处理数量;
(4) 点击数量字段框后方的蓝色字体,可以快速将
(5) 手动填写:找到对应的物料,手动在数量字段中填写。
若需一键清除所有物料的数量,则点击【清空数量】。
5、 点击转移,指定移入库位。
6、 转移成功后,转移历史进入【首页】>【库位转移历史】。
3.5.2库存查询
1、 通过【首页】进入【库存查询】,此列表中可以查询到包括【首页】设置仓库中和其他仓库中的所有物料,展示各库位上对应的物料数量。
2、 可通过右上角的搜索按钮,进入搜索界面,具有多个条件进行搜索。
3.5.3库存转移历史
通过【库位转移】操作成功的数据,均会进入【库存转移历史】列表。
3.6托盘管理
对于托盘,可以利用托盘的上下架进行托盘的上下架指令的管理。
3.6.1托盘上架
对托盘进行上下架管理,可以在菜单中进行托盘上下架管理。
点击上架,对库位码或者出入库单据进行扫码。将根据库位中的标识中为叉车的库位进行过滤。将标识为人工拣货的库位过滤掉。
如图所示,可以点击完成将任务从待处理移入已处理。
3.6.2托盘下架
点击托盘下架,需要将托盘进行下架。可以对库位码和出入库单据进行扫码,同样将根据库位中的标识中为叉车的库位进行过滤。将标识为人工拣货的库位过滤掉。















































