SRME供应商管理用户手册
供应商管理—采购员操作实例
1 供应商资质管理
1.1 供应商列表
1.1.1 查看供应商信息
供应商资质管理>供应商列表,『供应商信息查询』供应商列表可以查看所有登记的供应商,供应商分为未认证供应商与已认证供应商。导出供应商信息可下载全部供应商数据到 Excel 文件中。
- 查询条件说明
供应商管理>供应商资质管理>供应商列表,『供应商信息查询』,可在筛选条件中输入查询要求:查询字段:供应商代码、供应商名称、供应商状态、供应商状态、使用范围等,点击【重置】,可清空所有筛选条件。
1.1.2 新建供应商登记
供应商管理>供应商资质管理>供应商列表点击【新建供应商登记】进入『新建供应商』页面。输入供应商信息、联系人信息等必填信息,点击【保存】可成功新建供应商,点击【保存并快速认证】可直接认证供应商,但是若想快速认证,则需要填写更多的信息,包括注册地址、注册电话、开户银行、银行账号、纳税人识别代码、营业执照有效期。
其中,供应商代码支持手动输入或系统自动生成。选择系统自动生成时,用户可进入后台管理 > 序列号规则设置 中自定义供应商代码的编码规则。
1.1.3 编辑供应商
供应商管理>供应商资质管理>供应商列表,『供应商信息查询』点击供应商列表中【查看】,『供应商信息查询』点击右上角编辑基本信息后可以修改供应商基本信息。
点击【编辑产品信息】可以上传供应商的产品选型手册。
同时,可维护供应商方不同业务部门的联系人信息,点击【编辑】输入联系人姓名、联系电话、邮箱后【保存】。
点击【编辑使用范围】可管理供应商的使用范围,分别为“采购管理”和“外协众包”模块。
1.1.4 冻结、解冻供应商
供应商管理>供应商资质管理>供应商列表由供应商列表进入『供应商信息查询』页面,可【冻结】供应商,供应商一旦冻结后,将不能在采购管理中下订单,冻结后供应商可以重新解冻,启用【解冻供应商】可以再次下采购订单。
1.2 供应商认证
1.2.1 供应商采购端认证
供应商管理>供应商资质管理>供应商列表『供应商信息查询』找到对应供应商,点击【查看】,进入『认证信息』tab ,点击【发起标准认证】就可以对供应商发起标准认证,选择认证范围,若是该供应商适用所有的物料,则可选择通用;若是只对供应商认证某些物料类别,则可选择具体的物料类别进行认证。选择认证标准,则会将认证标准中的认证条目同步过来,显示在下方,认证条目不可修改。
初次登记供应商信息时,可进行快速认证。详见1.1.2 新建供应商登记。
内容填写后点击【保存】,可发送邮件至供应商邮箱,由供应商在供应商端维护认证内容,也可由采购直接在此页面上维护认证内容。
采购端和供应商端均可以维护认证内容,『标准认证详情』点击【维护认证内容】,上传认证资料,并【提交认证】。
供应商认证的审批人及具体流程可在流程管理模块中进行配置。
在维护好认证内容后,采购可以发起评审,由相关审批人审批,审批结果为通过时,此次认证结果为“合格”,允许采购;若是审批结果为已拒绝,此次认证结果为“不合格”,不允许采购。
若是不需要审批,用户可根据线下的评审结果确定此次认证结果,直接在记录上维护。 若是认证不合格,可根据实际情况操作【申请放行】,修改
不可用为可用。
若是通过实际使用认为该供应商不再具备提供该类别物料的能力时候,可禁止使用,点击禁用后,可用状态修改为不可用。
1.2.2 供应商端认证
1.2.2.1 登录及编辑基本信息
供应商登录供应商账号后,『信息管理』页面可以编辑基本信息,并编辑上传产品选型手册。
1.2.2.2 维护认证内容
『信息管理』页面,针对发起认证,供应商可以维护认证信息,在确认上传信息无误后,提交保存后无法修改。
1.3 认证申请列表
供应商管理>供应商资质管理>认证申请列表,业务部门希望使用新的供应商,或是对已有供应商的新产品进行认证,则可以在认证申请列表发起认证申请,申请内容包括供应商信息,申请人信息,须认证的产品信息(附件上传)等信息,『认证申请列表』页面,可以申请人、状态、查询供应商,【新建认证申请】可新建供应商、未处理的供应商。
供应商认证的审批流程,可在后台管理 > 流程管理中进行配置,可配置审批方式和审批人及通知方式等,如需新增或减少审批节点可联系客服人员。
>
刚创建的认证申请状态为
未处理,用户可以对未处理的认证申请【编辑】、谨慎操作【删除】。
对于
已处理的认证申请无法做任何操作。
1.4 认证申请处理
供应商管理>供应商资质管理>认证申请处理,『认证申请处理』所有创建的认证申请在此界面中呈现,由供应商管理部进行处理,当供应商管理部已接收对应认证申请,则可点击【处理】,认证申请的状态即会变为已处理,已处理的申请状态无法做任何操作。
1.5 认证标准管理
供应商管理>供应商资质管理>认证标准管理,『认证信息查询』认证标准列表管理所有供应商认证的标准,供应商管理部可根据不同供应商或不同物料创建不同的认证标准,针对供应商或物料进行认证的时候选择合适的标准进行认证。认证标准可以查看、删除,点击【查看】也可以支持【编辑】。
针对认证名称及认证内容清单编辑,添加认证条目,选择该条目是否是必填项,若是必填,则在实际认证过程中,该条目的文件必须上传,点击【保存】即可。
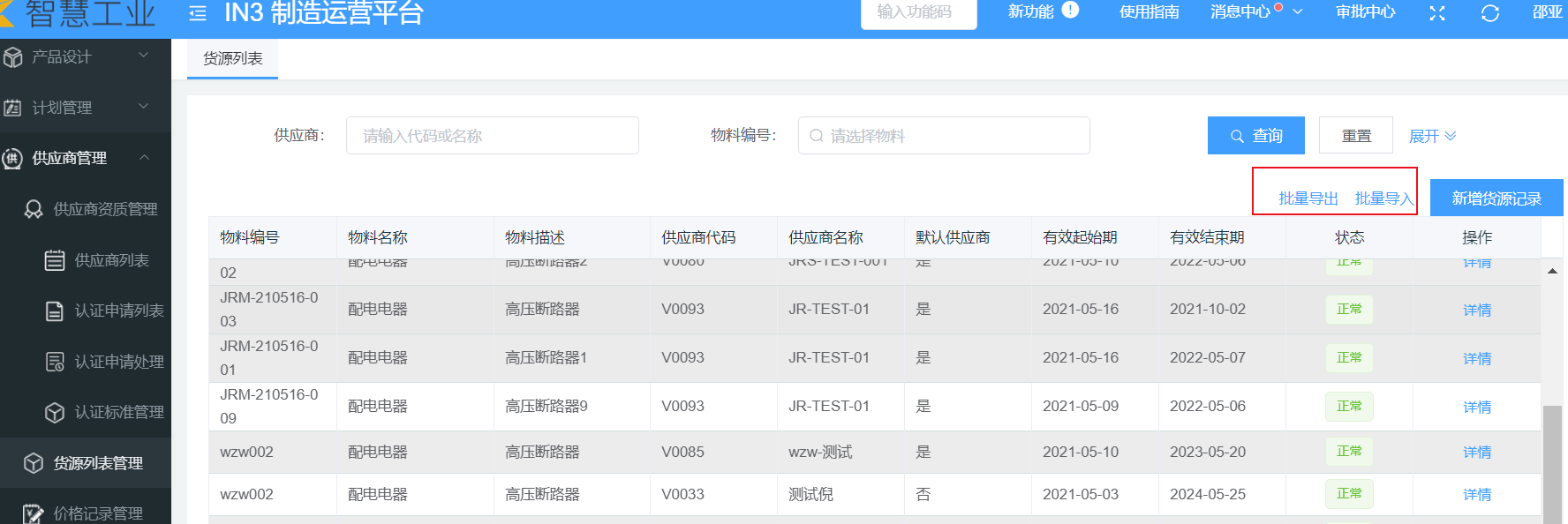
2 货源列表管理
货源列表主要是对物料的供货源进行管理,可以对物料的货源进行新增、冻结和废弃,物料的可选货源必须是价格管理中有价格记录的供应商,采购需要指定物料的默认供应商,对于一个物料有多个供应商的,采购可以分配采购比例。
2.1 查看货源记录
- 查询条件说明
供应商管理>供应商资质管理>货源列表管理,『货源列表』显示的是所有已创建的货源记录。筛选条件中输入查询要求:
查询字段:供应商、物料编号、制造商、物料类别、物料子类别。
批量导入:可以批量导入货源记录数据;
批量导出:根据当前搜索条件导出全部的货源记录。
2.2 新增货源记录
供应商管理>供应商资质管理>货源列表管理 『货源列表』点击【新增货源记录】进入『货源详情』,选择物料编号、供应商信息后,点击添加,点击保存创建货源记录。
支持配置默认提供此物料的供应商,在默认供应商中可指定已添加的任一供应商作为默认货源。
配置了默认货源的物料,在下采购申请单后,采购员可直接将申请单【批量转换】为采购订单。
“冻结”:将物料的某行供货记录冻结,同时该供应商是默认供应商,则该供应商不会显示在采购申请和采购订单中该物料的的默认供应商;
”废弃“:这个供应商不再作为该物料的供货源。
2.3 编辑货源记录
供应商管理>供应商资质管理>货源列表管理,『货源列表』点击货源列表操作项的【详情】按钮进入『货源详情』。可修改已有的供应商信息,包括冻结或废弃,然后保存。
2.4 批量导入货源记录
供应商管理>供应商资质管理>货源列表管理,『货源列表』大批量的货源记录需要修改,也可以选择批量导入,下载模板,点击上传录入相应数据即可。
3 价格记录管理
价格记录维护的是物料在供应商处的价格信息,包括未税单价、税率、采购提前期、最小订单量、最小批量等数据,价格记录与货源记录物料决定了物料在哪些供应商可以采购,以及采购的标准价格等信息
3.1 查看价格记录
价格记录列表页显示的是所有已创建的价格记录。
- 查询条件说明
供应商管理供应商资质管理>价格记录管理,『价格记录』,在上方筛选条件中输入查询要求:
查询字段:供应商、物料编号、制造商、料类别、物料子类别,是否仅显示最新的一笔。
【批量导入】:可以批量导入价格记录数据;
【批量导出】:根据当前搜索条件导出全部的价格记录;
【废弃】:删除当前物料的价格信息。
3.2 新建价格记录
点击【新增价格记录】进入『编辑价格记录』页面。选择物料后补全相应的信息后【保存】数据可以创建价格记录。
必填项:物料编号、供应商、未税单价、含税单价、税率、结算币种、币种汇率、有效起始期和有效结束期。
其中,无需填写的项将在选择
物料编号、供应商之后自动带出。
供应商支持模糊搜索,可选择状态为"正常"的供应商,选择后结算币种、币种汇率将根据已在供应商列表中维护好的信息进行带出。
3.3 废弃价格记录
供应商管理供应商资质管理>价格记录管理,『价格记录』页面。价格列表中操作的【废弃】按钮,删除对应的价格信息。
供应商管理供应商资质管理>价格记录管理,『价格记录』页面。大批量的价格记录可以【批量导入】,选择【批量导入】,下载模板,导入即可。
注:以上均属于测试环境场景及数据。
































